DOTS – Shoe Lace Fastener

Shoelacing system with integrated lace end storage

Loose shoelace ends are more than just an aesthetic problem. They pose a safety risk in heavy-duty environments. The DOTS system fixes this issue with a straightforward mechanical solution: a lacing system featuring an integrated storage compartment for lace ends – compact, retrofittable, and universally applicable.

Secure and stow away under heavy-duty

Existing solutions either don’t provide sufficient fixation or do not offer a permanent clamping effect under strain. The patented shoelace fastening system combines three functions in one compact device: clamping, winding, and protecting the lace ends. No knots required, no loose ends.

Universally applicable: no proprietary strap system required

DOTS does not require a proprietary eyelet or strap system. It can be retrofitted to existing shoes and standard shoelaces of various sizes and materials, including sports shoes, hiking boots, and safety shoes. This particular compatibility makes it attractive to manufacturers: no production changes, no dependence on special components.

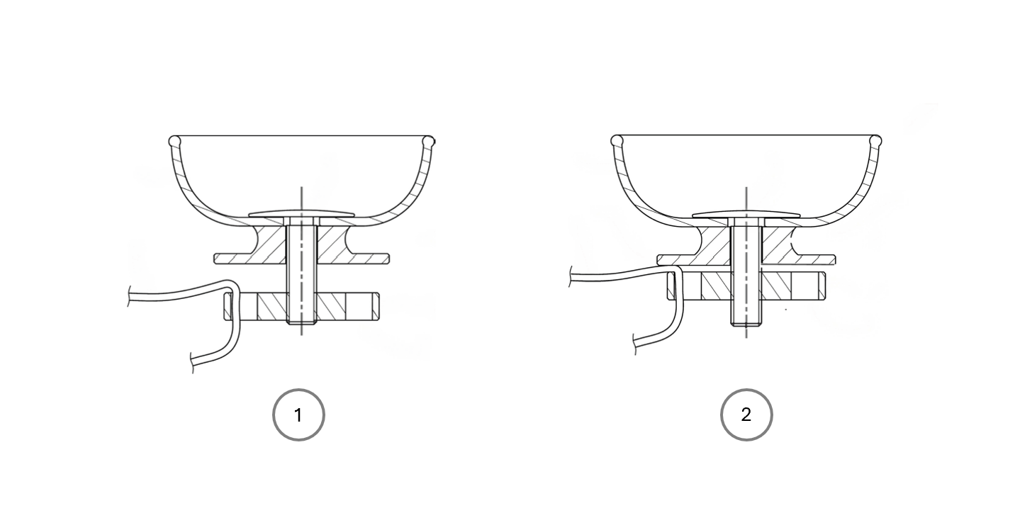
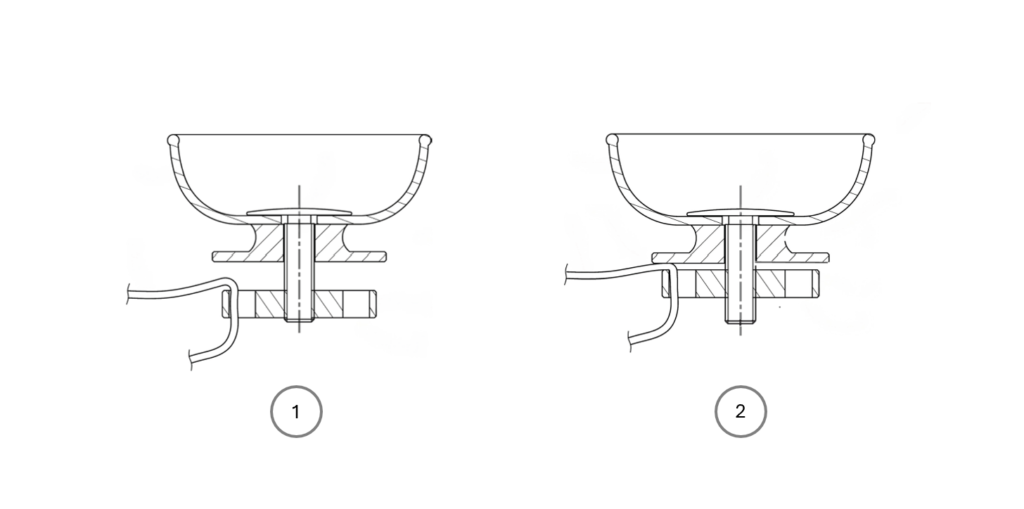
Clamp and release in one mechanism

At its core is a strap guide plate with an opening through which the shoelace is threaded. A clamping element secures the lace between a clamping position and a release position. The fastening is formed in conjunction with the strap guide plate, which holds the lace securely in place and releases it when necessary.

Advantages for manufacturers and end users:

• Permanent clamping effect: Secure hold even under strain on the lacing system
• Protected strap ends: Loose ends are wound up and stored under a protective cover
• Convenient handling: Lacing system can be tightened intuitively
• Increased safety: No loose lace ends, reduced risk of falling
• Flexible design: Various clamping mechanisms possible (screw, lever, ratchet, rotating parts)
• Suitable for all types of shoes and easy to retrofit: Universal applicability without design restrictions, integration into existing product lines without redesign

Market and future

Safety at work, performance in sports, comfort in everyday life. DOTS solves a real problem where lacing systems are exposed to high strain and conventional solutions reach their limits.
The device can be combined with existing lacing systems without complicated integration or damage to existing components.

IP acquisition options

For companies that value functional safety and improved handling, we offer licensing or patent purchase.

Franz Filzmoser
Innovation Network Austria GmbH
Tel.: +43 7242224110
www.inna.at

Scroll to Top
WordPress Cookie Notice by Real Cookie Banner